KOBOLD Instruments Inc • 1801 Parkway View Drive • 15205 Pittsburgh, PA • Tel: +1 412 788 2830 • E-mail: Prosím aktivujte JavaScript • visit koboldusa.com

durchfluss.gif

Filter produktov

Funkcie

vybrať
Ultrazvukový (3) Ultrazvukový (3)

Médium

vybrať
Kvapaliny (ako voda) (3) Kvapaliny (viskózne) (3) Sypké látky (1)

Merací princíp

vybrať
Ultrazvukový (3) Ultrazvukový (3)
Ako fungujú ultrazvukové prietokomery?

Senzory vysielajú a prijímajú akustické signály (ultrazvukové vlny). Vzdialenosť medzi senzormi je známa. Rýchlosť zvuku vo vzduchu je asi 340 m/s. Pokiaľ je medzi snímačmi iné médium, zmení sa rýchlosť zvuku, napríklad vo vode je 1500 m/s. Pri neprúdiacom médiu potrebuje zvuk rovnaký čas v oboch smeroch, aby urazil vzdialenosť medzi senzormi. Pokiaľ sa médium začne pohybovať, doba priechodu zvukových vĺn sa s prietokom po prúde skracuje. Pri zvukovej vlne pohybujúcej sa proti prúdu sa doba priechodu zvyšuje. Rozdiel v dobe priechodu je elektronikou prevedený na prietok, zobrazený a odoslaný ako signál pre ďalšie spracovanie.

notext-1-electronics-ultrasonic-flow-meter-working-principle.jpg

Ultrazvukové prietokomery: Princíp činnosti

Ultrazvukové prietokomery pracujú na princípe rozdielu doby priechodu. Ultrazvukové vlny v médiu sú ovplyvnené rýchlosťou prúdenia. V prietokomere sú umiestnené dva protiľahlé snímače, ktoré súčasne fungujú ako vysielač a prijímač ultrazvukových zvukových signálov. Keď je médium v kľude, sú doby šírenia oboch signálov totožné. Pokiaľ sa médium pohybuje, je doba šírenia signálu proti toku dlhšia ako doba šírenia signálu po prúde. Tento rozdiel doby priechodu je spracovaný mikroprocesorom a je úmerný prietoku.

Aké sú výhody ultrazvukových prietokomerov?

Ultrazvukové prietokomery ponúkajú mnoho výhod: nemajú žiadne pohyblivé časti, ktoré by sa mohli opotrebovať. Sú prakticky bezúdržbové a majú nízke prevádzkové náklady. Ponúkajú veľký rozsah meraní. Meria aj nevodivé médiá a sú vynikajúcim doplnkom indukčných prietokomerov, ktoré merajú iba vodivé kvapaliny. Všeobecne majú vysoký stupeň presnosti. Pri nízkom prietoku môžete merať presnejšie ako s inými prietokomermi. Majú iba malú tlakovú štátu v potrubných systémoch. Môžu byť použité pre rôzne médiá podobné vode a viskózne médiá.

Ultrazvukový prietokomer: Výhody a nevýhody
Výhody 

Bez opotrebenia

Veľký rozsah meraní

Možno použiť pre nevodivé médiá

Nevýhody

Drahšie ako mechanické prietokomery

Dlhšie dĺžky upokojujúceho potrubia

Médiá musia byť schopné prenášať ultrazvukové vlny a byť homogénne.

Aké sú nevýhody ultrazvukových prietokomerov?

Ultrazvukové prietokomery, rovnako ako každé high-tech zariadenia, majú aj obmedzenia. Vyššia presnosť a robustnosť oproti iným technológiám sa odráža v obstarávacej cene. Vzhľadom na kompaktné prevedenie je ich oprava v prípade poškodenia drahšia. Vyžadujú homogénne médiá a dlhšie ukliňujúce potrubie (vstup, výstup), aby bol zaistený profil prúdenia vhodný pre ultrazvukový princíp. Nefungujú s kvapalinami, ktoré neprepúšťajú ultrazvukové vlny, ako sú ťažké kaly. A napokon, presnosť ultrazvukových prietokomerov môže byť ohrozená pri veľmi nízkych prietokoch.

Typy inštalácie ultrazvukových prietokomerov

Inline

notext-2-1-ultrasonic-flow-meter-types-inline.jpg

Trvalo inštalovaný v potrubnom systéme
Lacnejšie pre malé priemery
Vynikajúca alternatíva k indukčným prietokomerom

Upínacie

notext-2-2-ultrasonic-flow-meter-types-clamp-on.jpg

Lacnejšie pre veľké priemery potrubia
Je možné zostaviť a rozložiť počas prevádzky
Prenosné alebo stacionárne

Aké sú zásadné rozdiely medzi verziami?

Keď niekto uvažuje o ultrazvukových prietokomeroch, obvykle má na mysli prenosné upínacie verzie (modelové označenie Kobold: DUC), ktoré majú rad výhod oproti pevne inštalovaným inline verziám (modelové označenie Kobold: DUK). Vzhľadom na to, že upínacie modely je možné v čase merania dočasne inštalovať a potom opäť demontovať, sú považované za extrémne flexibilné. Oblasti použitia upínacích verzií sú čistiarne odpadových vôd, potravinársky priemysel, energetika, chemický priemysel, prístavná technika (nakládka lodí, vykládka tankerov).

Čo musím vziať do úvahy pri inštalácii ultrazvukových prietokomerov?

Dodržujte pokyny výrobcu v technickej dokumentácii. Nasledujúce informácie môžu poskytnúť iba hrubý návrh na prípravu a nákup.

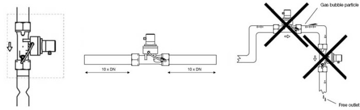
notext-5-inline-ultrasonic-flow-meter-installation-guidelines.jpg

Pokyny pre inštaláciu inline ultrazvukových prietokomerov

notext-5-inline-ultrasonic-flow-meter-installation-guidelines.jpg

Inštalácia zhora nadol

Inline ultrazvukové prietokomery vyžadujú upokojujúce potrubie - pred 10 DN, za 10 DN

Minimalizujte plynové bubliny a usadeniny

notext-6-clamp-on-ultrasonic-flow-meter-installation-guidelines-clamp-on.jpg

Proces inštalácie upínacích ultrazvukových prietokomerov

1. Zvoľte správnu orientáciu a umiestnenie pre montáž snímačov

2. V elektronike nastavte parametre vášho potrubia

3. Správne namontujte snímače so zodpovedajúcou roztečou a spojkou

4. V prípade potreby nastavte nulový bod

5. Uveďte systém do prevádzky na meranie

notext-7-1-strap-on-ultrasonic-flow-meter-installation-elements.jpg

Inštalačné prvky pre upínacie ultrazvukové prietokomery

Spojovacia fólia a gél

notext-7-2-strap-on-ultrasonic-flow-meter-installation-foil.jpg

Horizontálny montážny uhol

notext-7-3-strap-on-ultrasonic-flow-meter-installation-horizontal-Install.jpg

Úprava vzdialenosti

notext-7-4-strap-on-ultrasonic-flow-meter-installation-with-Bar.jpg

                                                                            Montážna vzdialenosť

Kto vynalezol ultrazvukový prietokomer?

Japonský fyzik Shigeo Satomura použil ultrazvuk na priemyselné účely prvýkrát v roku 1955, čím začal triumf novej technológie. V roku 1959 ako prvý vedec vykonal lekárske analýzy pomocou ultrazvukovej metódy, spočiatku skúmal prúdenie ľudskej krvi v žilách a tepnách pomocou Dopplerovho javu. Integrácia vysoko výkonnej elektroniky začala neskôr, a tak sa začalo rozšírenie naprieč priemyslom.

Kde sa v elektrárňach používajú ultrazvukové prietokomery?

Ultrazvukové prietokomery sa používajú v hlavných a pomocných chladiacich okruhoch, ďalej v diaľkovom vykurovaní, na ochranu čerpadiel a na meranie kondenzátu a napájacej vody.

Kde sa vo vodnom hospodárstve používajú ultrazvukové prietokomery?

Ultrazvukové prietokomery sa používajú v čistiarňach odpadových vôd, v rozvodoch pitnej vody, na detekciu únikov a meranie spotreby.

Kde sa používajú ultrazvukové prietokomery v správe objektu

Ultrazvukové prietokomery sa používajú v chladiacich systémoch, klimatizácii a optimalizácii energie.

Kde sa v chémii používajú ultrazvukové prietokomery?

Ultrazvukové prietokomery sa tiež používajú v petrochemickom priemysle (ropa, ľahký olej), pri meraní agresívnych a toxických médiami a pri meraní odpadových vôd.

Kde sa v potravinárskom priemysle používajú ultrazvukové prietokové merače?

Ultrazvukové prietokomery sa používajú pri výrobe nápojov na zabezpečenie dokonalej hygieny médií a meranie množstva tepla.

Do akých rýchlostí prúdenia sa používajú ultrazvukové prietokomery?

Prenosný upínací ultrazvukový prietokomer (názov Kobold modelu: DUC) zvládne rýchlosť prúdenia až 30 m/s.

Existujú nejaké iné metódy merania okrem diferenčnej metódy?

V prvých rokoch ultrazvukového merania bolo použitie Dopplerovho javu veľmi bežné. Dnes sa táto metóda merania používa iba v špecifických oblastiach, napr. B. medicíne alebo pri meraní radarom.

Aké presné sú ultrazvukové prietokomery?

V porovnaní s technológiami využívajúcimi iné princípy poskytujú ultrazvukové prietokomery trvalo vynikajúcu presnosť. Trvalo inštalovaný inline ultrazvukový prietokomer (modelové označenie Kobold: DUK) dosahuje presnosť merania 0,7 % z meranej hodnoty + 0,7 % z rozsahu. Ultrazvukové prietokomery majú veľmi široký prevodový pomer, ktorý správne reprezentuje široký rozsah prietokov v rámci jedného prístroja. Napríklad náš inline ultrazvukový prietokomer DUK poskytuje jeden z najlepších pomerov v obore 250:1. Prenosný upínací ultrazvukový prietokomer (modelové označenie Kobold: DUC) dosahuje presnosť merania 1 % meranej hodnoty.

Aké rýchle sú ultrazvukové prietokomery?

valo inštalovaný ultrazvukový prietokomer (modelové označenie Kobold: DUK) má odozvu kratšiu ako jedna sekunda.

Pre aké dimenzie sa ultrazvukové prietokomery používajú?

Prenosný upínací ultrazvukový prietokomer (modelové označenie Kobold: DUC) je vhodný pre menovité rozmery potrubia až do DN 6000.

Môžem použiť ultrazvukový prietokomer pre rôzne médiá?

Pevne inštalovaný ultrazvukový prietokomer (modelové označenie Kobold: DUK) je z výroby štandardne nastavený na vodu. S novým doplnkovým príslušenstvom C3T0 od Koboldu je možné súbor s novými dátami médií ľahko nahrať do kompaktnej elektroniky pomocou USB kábla.

Aké výstupy majú ultrazvukové prietokomery?

Pevne inštalovaný ultrazvukový prietokomer (modelové označenie Kobold: DUK) môže byť vybavený spínacím, frekvenčným alebo analógovým výstupom. Okrem toho je k dispozícii kompaktná elektronika, ktorá zahŕňa digitálny displej, spínací a analógový výstup. Prenosný ultrazvukový prietokomer (modelové označenie Kobold: DUC) má výstupy 2x 4 - 20 mA, pulzný, micro USB, relé, RS232, RS485, čítač.

Ktoré jazyky sa zobrazujú na displeji prenosného upínacieho ultrazvukového prietokomera (označenie modelu Kobold: DUC)?

Okrem nemčiny je k dispozícii angličtina, francúzština, ruština alebo čínština.

Potrebujem technika pre prenosný upínací ultrazvukový prietokomer (označenie modelu Kobold: DUC)? Môžete k nám technika vyslať?

Radi vám pomôžeme a poradíme! Navštívte našu webovú stránku www.kobold.com. Zavolajte nám alebo pošlite e-mail.

Aké pripojenie majú ultrazvukové prietokomery?

Trvalo inštalovaný inline ultrazvukový prietokomer (modelové označenie Kobold: DUK) je k dispozícii so závitovým pripojením G1/2, G3/4, G1, G1½, G2, G3 a na vyžiadanie aj s NPT závitmi.

Pre aké teploty sú ultrazvukové prietokomery vhodné?

Trvalo inštalovaný inline ultrazvukový prietokomer (modelové označenie Kobold: DUK) je určený pre teplotu média v rozmedzí -20 až +90 °C. Zariadenie pracuje pri okolitej teplote -20 až +70 °C. Prenosný upínací ultrazvukový prietokomer (modelové označenie Kobold: DUC) pracuje s teplotami média v rozmedzí -40 až +150 °C.

Na aké tlaky sú ultrazvukové prietokomery vhodné?

Trvalo inštalovaný ultrazvukový prietokomer (modelové označenie Kobold: DUK) je určený pre tlak média v rozmedzí 0 až 16 bar. Vzhľadom na to, že prenosný upínací ultrazvukový prietokomer (modelové označenie Kobold: DUC) sa jednoducho umiestni zvonku na existujúce potrubie, neexistujú u DUC žiadne obmedzenia tlaku.

Aký IP kód (kód ochrany proti vniknutiu) majú ultrazvukové prietokomery?

Pevne inštalovaný ultrazvukový prietokomer (modelové označenie Kobold: DUK) má triedu krytia IP 65, teda je prachotesný a chránený proti vode. Ultrazvukové snímače prenosného upínacieho ultrazvukového prietokomeru (modelové označenie Kobold: DUC) majú krytie IP 68, teda sú prachotesné a chránené proti trvalému ponoreniu do vody.

Akú tlakovú stratu generujú ultrazvukové prietokomery?

Pevne inštalovaný ultrazvukový prietokomer (modelové označenie Kobold: DUK) generuje tlakovú stratu maximálne 150 mbar. Vzhľadom na to, že prenosný upínací ultrazvukový prietokomer (modelové označenie Kobold: DUC) je umiestnený na vonkajší povrch existujúceho potrubia, DUC nevytvára žiadnu tlakovú stratu.

Z akých materiálov sú ultrazvukové prietokomery vyrobené?

Pevne inštalovaný ultrazvukový prietokomer (modelové označenie Kobold: DUK) je na základe požiadavky zákazníka vyrobený z mosadze alebo nerez. ocele.

Ako vybrať ultrazvukový prietokomer?

Radi vám pomôžeme a poradíme s výberom! Navštívte našu webovú stránku www.kobold.com. Zavolajte nám alebo pošlite e-mail.

Sú ultrazvukové prietokomery schválené podľa ATEX pre nebezpečné priestory?

Voliteľne je možné vybrať ATEX prevedenie. Zavolajte nám alebo pošlite e-mail.

Potrebujem naliehavú technickú pomoc. Ako sa s vami môžem spojiť?

Sme tu, aby sme vám pomohli! Zavolajte nám alebo pošlite e-mail.

 

Ďalši členovia KOBOLD group

Products by Keyword
KOBOLD Instruments Inc.

1801 Parkway View Drive
15205 Pittsburgh PA
USA

Prosím aktivujte JavaScript

Cookies & Features

This website uses cookies to provide content and features. Details of the technologies used can be found in our privacy policy.

Essential Cookies

Session data such as language selection or spam protection - you can't do without it.

Statistics

Hosted on this server in Germany: Provides feedback for us and better content for you.

Google Services

Integration of Google Maps for maps, YouTube for some of our videos and Google Tag Manager for our marketing.

loading
loading